AUXILIARY PROJECTION AND AUXILIARY VIEWS IN TECHNICAL DRAWING AND ENGINEERING GRAPHICS
Graphix tutors
View ChannelAbout
Hello guys. I welcome you to my YouTube Channel (graphix tutors). This channel will blow your mind. REMEMBER WE LEARN EVERYDAY, Learning Never Stops. FOUR PRINCIPLES TO WORK WITH IN LEARNING: *Be Teachable * Be Learnable *Be Understandable * Be willing (PLEASE GUYS DON'T FORGET TO SUBSCRIBE, LIKE, COMMENT AND SHARE) On this channel you will be engaged with the following: 1. Upload from courses like technical drawing, engineering drawing, mechanical engineering science, electrical engineering science, Mathematics, and other science related courses which involves calculation. 2. Follow up questions and solutions 4. Tips on how to approach difficult concepts in the courses mentioned above and many more Contact: 08150594314
Latest Posts
Video Description
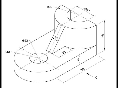
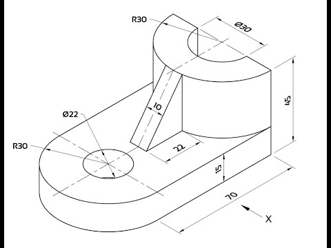
learn how to make it from top view the auxiliary projection of the given elevation
Master [Skill] with These Must-Haves
AI-recommended products based on this video

Art Kit, 272 Pack Art Set Drawing Kit for Kids Girls Boys, Deluxe Gift Art Supplies with Trifold Easel, Origami Paper, Coloring Pad, Sketch Pad, Pastels, Crayons, Pencils, Watercolors (Pink)








![Isometric Views Object 04 | [without making isometric box] | Engineering Drawing](https://imgz.pc97.com/?width=500&fit=cover&image=https://i.ytimg.com/vi/_qcm6c-F-v0/hqdefault.jpg)












